Dimmer
ou gradateur
Ce montage est basé sur un SLB0587, piloté soit par une touche tactile locale, soit via une liaison IR à 40kHz.

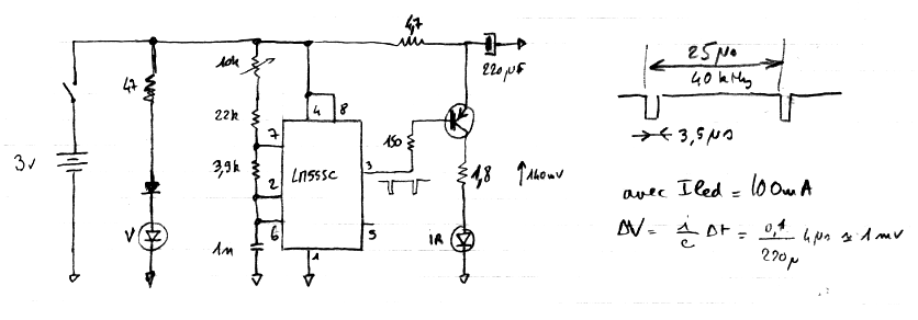
L'émetteur est très simple, basé sur un 555


Le montage prends place dans une boite diametre 80mm murale.
Le problème de ce montage est sa sensibilité aux télécommandes IR, même si les impulsions sont franchement filtrés à la sortie du récepteur IR, il peut arriver que certaines télécommandes (celles utilisant un signal à 40kHz) puisse activiter le gradateur.
Réalisation accessibles sur le net